全部商品分类
密封胶

锁固密封 灌封密封 模塑 聚氨酯密封胶 改性硅烷

粘接固定

溶剂型胶粘剂 圆柱形固持 瞬干胶 水基乳液 单液环氧 模具胶 阻燃胶

结构胶

环氧结构胶 光学胶 紫外线固化结构胶 极限高温低温胶 丙烯酸结构胶 热熔胶 聚氨酯结构胶

凝胶

防水 触屏胶 硅脂 硅胶凝胶

传导材料

热管理 导电屏蔽 降噪隔震

表面处理

润滑剂 清洗剂 涂层 底剂 金属表面处理 脱模剂 防锈剂 焊接辅助产品

设备&工具

点胶系统 固化设备 工具&配件 低压注塑设备

维护保养

磨料/磨具 修补 保养专区

座舱热管理(汽车空调)概述
工典科技

空调系统是汽车热管理的关键,无论是驾驶员还是乘客都希望追求汽车的舒适性,汽车空调的重要功能是通过调节汽车乘员舱内的温度、湿度和风速,使乘员舱达到一个舒适的驾驶和乘坐环境。主流的汽车空调的原理是通过蒸发吸热,冷凝放热的热物理原理,使车厢内温度变冷或变热。在外界温度较低时能够向车厢内输送加热后的空气,使驾驶员和乘客感觉不到寒冷;在外界温度较高时能够向车厢内输送低温空气使驾驶员和乘客感觉更加凉爽。所以汽车空调对车厢内空气调节和乘员的舒适性起着非常重要作用。

1.1 传统燃油汽车空调系统及工作原理

传统燃油汽车空调主要由蒸发器、冷凝器、压缩机、膨胀阀四个部件构成。

压缩机是一个动力装置,可以将低温低压的气态冷媒通过压缩变成高温高压的气态冷媒,压缩机在燃油汽车上一般都安装在发动机上,通过发动机驱动而使压缩机工作。

蒸发器是一种换热的装置,安装在座舱内,蒸发器的工作原理就是利用蒸发吸热从而降温。当低温低压的液态冷媒通过蒸发器时,液态冷媒气化吸收车厢内的热量从而能够使车厢迅速降温。

冷凝器也是一种换热的装置,安装在车厢外部,冷凝器的工作原理则是通过冷凝吸热从而升温,当高温高压的气态冷媒通过冷凝器时,通过风扇强制冷却将热量释放到外界空气,使高温高压气态冷媒转变为了中温高压的液态冷媒。

膨胀阀是一个将中温高压液体膨胀成低温低压液体的装置,膨胀阀一般安装在蒸发箱的入口处,将中温高压的液态冷媒通过膨胀变成低温低压的液态冷媒,从而使冷媒进入到蒸发箱中吸收车厢内的热量。

汽车空调由制冷系统、制热系统和通风系统组成,这三个系统组成了汽车空调的总成。传统燃油汽车制冷的原理就是压缩、冷凝、膨胀、蒸发这四个步骤,如图 1 所示。通过这四个步骤一直反复循环,就可以保证制冷系统的运行。然后蒸发箱持续不停给座舱制冷。

图片

图 1 汽车空调原理图


传统燃油汽车制热的原理是利用汽车发动机的余热对汽车座舱加热,首先从发动机冷却水套中出来的温度较高的冷却水进入到暖风芯体中,通过风机将冷空气吹过暖风芯体,被加热的空气就可以被吹入车厢,用于座舱加热或车窗除霜,冷却水离开加热器后又回到发动机中,完成一次循环。

1.2 新能源汽车空调系统及工作原理

由于新能源汽车和传统燃油汽车的驱动装置不同,燃油汽车空调压缩机由发动机驱动,新能源汽车空调压缩机由电机进行驱动,所以新能源汽车上的空调压缩机不能使用发动机进行带动,则转而使用电动压缩机进行冷媒的压缩。新能源汽车基本原理与传统燃油汽车的相同,利用冷凝放热,蒸发吸热给乘员舱进行降温,仅仅是其压缩机改为电动压缩机,目前主要使用涡旋结构压缩机对冷媒进行压缩。

新能源汽车的制热模式和传统燃油汽车大有不同,由于传统燃油汽车制热模式是将发动机的余热通过冷却液传到车厢内给车厢内进行升温,但是新能源汽车没有发动机,就不存在发动机给车厢进行加热的过程,因此,新能源汽车采用了其他的制热模式给车厢进行加热。以下给出了几种新能源汽车空调制热的方式。

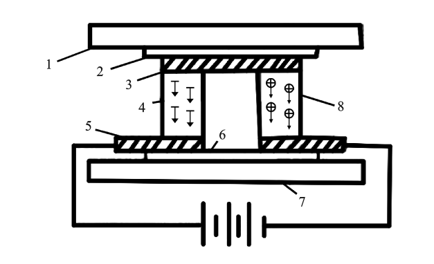
1)半导体制热系统:半导体制热器是由半导体元件和接线柱来进行降温加热功能,该系统中热电偶为降温制热基本元器件,其结构如图 2 所示。将两个半导体器件连接成为一个热电偶,通上直流电之后,会在接口处产生热量和温差从而为车舱内部进行加热。半导体制热的主要优点是可以快速地加热车厢,主要缺点是半导体加热会消耗大量的电量,对于需要追求续航里程的新能源汽车来说,其缺点是致命的。因此,不能满足新能源汽车对空调节能的要求。也更需要人们对于半导体加热方式进行研究,设计出一种高效节能的半导体加热方式。

图片

1—电绝缘层;2—被冷却物体;3—金属片;4—N 型半导体;

 5—金属片;6—被加热物体;7—电绝缘层;8—P 型半导体

图 2 半导体制热原理图


2)正温度系数热敏电阻(Positive TemperatureCoefficient, PTC)风暖加热:PTC 主要部件是热敏电阻,通过电热丝进行加热,是直接将电能转变成热能的装置。PTC 风暖加热体系就是将传统燃油汽车的暖风芯体变成 PTC 风暖加热器,使用风机驱动外界的空气通过 PTC 加热器进行加热,将加热后的空气送入车厢内部使车厢加热,由于其直接消耗电量,因此,在开启暖风时对新能源汽车的能量消耗也比较大。

3)PTC 水暖加热:PTC 水暖和 PTC 风暖一样都是通过利用电量的消耗产生热量,但是水暖系统是先通过用 PTC 加热冷却液,将冷却液加热到一定温度后,将冷却液泵入到暖风芯体中,与周围的空气进行热交换,风机将加热后的空气送入到车厢中,对座舱进行加热。然后冷却水在经过 PTC 进行加热,往复循环,此加热系统相较 PTC风冷来说更加可靠安全。

4)热泵空调系统:热泵空调系统和传统汽车空调系统的原理一样,但是热泵空调可以实现座舱制热和制冷的转换,其原理如图 3、图 4 所示,通过一个四通换向阀来改变系统内的冷媒的流向,从而达到制冷制热交换的过程。由于热泵空调不直接消耗电能发热,因此,热泵空调的节能程度比 PTC 加热器的高,目前热泵空调在部分车辆上已经实现量产。


图片